There are 258 Pressure Transmitter from 119 suppliers on EC21.com
Related Searches : pressure transmitter , transmitter , pressure transducer , pressure sensor
Price
Supplier Info.
Report Item
Your report on Product(s) will be sent to EC21 Administrators once submitted.
Then, Administrators will investigate and then take appropriate actions.
Contact Supplier


General Introduction
NCS-PT105Ⅱ series Smart Pressure Transmitter with advanced, mature, reliable 3151 capacitance sensors has been designed meticulously by combining advanced microprocessor technology and digital capacitance measurement technology. The powerful functions and high-speed computing capability of the microprocessor make it have excellent qualifications such as smart, high precision, high reliability, stable zero and so on. Its LCD can display many physical parameters (e.g. pressure, temperature, current and so on). It can realize the functions such as zero adjustment, range settings by key-press operation, and it is easy for field testing.
NCS-PT105Ⅱ series Smart Pressure Transmitter supports HART, FF, and PA protocol and can measure pressure, differential pressure, liquid level, flow, and other industrial parameters. It can be widely used in the petroleum, chemicals, electricity, and metallurgical industries, etc..
Feature
Excellent Performance
-- High precision: ±0.075% full range (20℃, within the range of 10:1)
-- Long-term stability: ±0.1% of the maximum range within 12 months
Flexibility
-- Pressure type selection (micro differential pressure, surface pressure, absolute pressure, differential pressure, high static differential pressure)
-- Parameters can be set by magnetic bar, hand operator and upper computer software
-- High range ratio (100:1)
Reliability
-- Self-detection function (sensor, memory, communication)
-- Automatic compensation function (ambient temperature compensation, sensor input linearization)
-- Software and hardware fault alarm function
-- Configuration protection: EEPROM write protection function
GSD and DT
SIze of 4-20ma Output Signal Multi Protocol 3051 Differential Pressure Transmitter (Capacitance Sensor)

Introduction for Working Principle
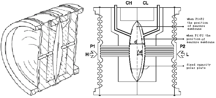
The widely used 3151 capacitive pressure sensors, which were developed by Rosemount initially in USA, have been produced on a large scale in China. The core of its sensor is differential capacitive membrane, as Figure 3-2 shows. There are two measurement capacitances CH and CL distributed in differential capacitive membrane. The two measurement capacitances are almost equal to two plate capacitances because of their mechanical structure. The two measurement capacitances share one polar plate, which is a measure membrane in the center. And the other polar plate is fixed on the two sides. When the pressures of two sides are equal, the measure membrane is in the center, the capacitances of two sides are equal too. But when the pressure of high pressure side is higher than that of low pressure side, the guide pressure liquid filled in the membrane guides the differential pressure, so that the measure membrane moves to low pressure side. As a result, the capacitance of high pressure side is lower than that of the low pressure side.

Wiring
The power and signal of Smart Transmitter are sharing one pair of cables (Bus Cable). The ordinary cables can be selected by HART smart transmitter, but FF, PA Smart Transmitter is suggested to use specific Fieldbus cable the IEC61158-2 recommended. The terminal is at the rear cover, the terminal wiring board could be seen after screwing the rear cover (indicated “FIELD TERMINAL”).


FF,PA Smart Transmitter Wiring HART Smart Transmitter Wiring
Measure Object  | Liquid, Gas, Stream  | |
Power  | 9~32V DC(FF,PA) 9~32v DC (FF, PA Explosion-Proof Instrument) 11.9~42 V DC (HART) 11.9~30 V DC (Hart Explosion-Proof Instrument)  | |
Output  | Analog: 2 Wire 4~20ma Digital: HART, FF AND PA Signal  | |
Load Resistant  | 0~1500ohm (Common) 250~550ohm (With Hart)  | |
Insulation  | Input And Output Insulating Voltage: 500vrms (707vdc)  | |
Display  | Optional 6 Bits Digital Number Or 5 Bits Characters LCD Display  | |
Humidity Scale  | 5%~100%Rh  | |
Start Time  | ≤ 5 Seconds  | |
Refresh Time  | 0.2 Seconds  | |
Dump Adjusting  | Time Constant 0~15 Seconds  | |
Change Of Cavity  | < 0.16 Cm3  | |
The Overpressure Limits  | SG  | 13.8Mpa (Gauge Pressure) Range 3~8 31.0Mpa (Gauge Pressure) Range 9 51.7Mpa (Gauge Pressure) Range 0  | 
SA  | 13.8Mpa  | |
Static And Unidirectional Overpressure Ranges  | SR  | 3.45 Kpa (Absolute Pressure) ~ 6.89Mpa (Gauge Pressure)  | 
SD  | 3.45 Kpa (Absolute Pressure)~ 13.8Mpa (Gauge Pressure)  | |
SH  | 3.45 Kpa (Absolute Pressure)~ 31.2Mpa (Gauge Pressure)  | |
Level Of Protection  | IP65/IP67  | |
Humidity Range  | 0%~95%Rh  | |
The Accuracy Is ±0.075% Of The Regulated Range.If The Range Regulated Is Less Than 1/10 Of The Maximum Range, The Accuracy Is ±[0.025 + 0.005 × (Maximum Range/Range Regulated)]%  | ||
Temperature Influence  | Every 28℃(50 ° f)Range ≥0.1 Maximum Range: ±[0.019% Maximum Range + 0.125% Maximum Range]Adjustable Range < 0.1 Max Range: ±[0.025% Max Range + 0.125% Adjustable Range]  | |
Stability  | Not Exceeding ±0.1% Of The Maximum Range Within 12 Months  | |
Static Pressure Influence  | SR  | ±0.5%/ 6.89Mpa Of The Maximum Range  | 
SD  | ±0.25%/13.8Mpa Of The Maximum Range  | |
SH  | ±0.25%/31.0Mpa Of The Maximum Range  | |
Installation Position Influence  | The Maximum Zero Drift Is 0.24Kpa  | |
The Power Influence  | Less Than 0.005%/v Of The Calibration Range  | |
Vibration Influence  | Any Axial 0 ~ 200hz, The Error Is ±0.05%/g Of The Maximum Range  | |
 
Q: Which one is the most popular model?
A: NCS-PT105ⅡSG and NCS-PT105ⅡSD.
Q: How to install NCS-PT105II Pressure Transmitter (Capacitance Sensor) ?
A: There are three ways to install NCS-PT105II Pressure Transmitter (Capacitance Sensor): installation of pipe mounting flat bracket, installation of pipe mounting angle bracket and installation of plat mounting angle bracket.
Q: Can I get a free electronic manual?
A: Yes, if you want it, please contact us.
Q: Can you provided OEM service?
A: Yes, we can, such as communication board, we can also provided fieldbus development toolkit.
										
											| Registration Date | 2020/02/21(Year/Month/Date) | 
|---|---|
| Buyer / Seller in EC21 | Seller | 
| Business Type | Manufacturer | 
| Year established | 2003 | 
| Employees total | 101 - 500 | 
| Annual revenue | USD 10,000,001 - 50,000,000 | 
| Company | Microcyber Corporation | 
|---|---|
| Address | Wensu StreetShenyangLiaoning110179China | 
| Phone | 86 - 024 - 31217278 | 
| Contact | balinda guo |